Hallo!
Ich bin neu hier im Forum.
Seit ca. 2 Jahren beschäftige ich mit Röhrenradios (vor allem Saba) und besitze inzwischen mehrere.
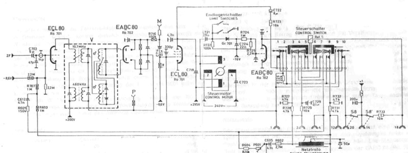
Momentan arbeite ich an einem Meersburg 6-3D Automatic. Nach dem Austausch einiger Kondensatoren (auf weitere Bauteile warte ich gerade noch) spielt das Radio wieder recht gut. Sobald alle "Problemkondensatoren" gewechselt sind, werde ich mir die Automatik genauer ansehen. Wie ich feststellen musste, war hier wohl mal ein Bastler am Werk. An der Automatik hängen zwei Kondensatoren mit je 0,22µF (ein Ende hängt frei herum). Beim Betätigen der Wippe geht der Ton langsam weg und kommt nach kurzer Zeit wieder, die Automatik läuft aber nicht.
Weiß jemand, welche Kondensatoren hier benötigt werden und wie man die einbauen muss?
Viele Grüße,
sabasammler
P.S. Ich werde versuchen, ein Bild einzustellen.
Ich bin neu hier im Forum.
Seit ca. 2 Jahren beschäftige ich mit Röhrenradios (vor allem Saba) und besitze inzwischen mehrere.
Momentan arbeite ich an einem Meersburg 6-3D Automatic. Nach dem Austausch einiger Kondensatoren (auf weitere Bauteile warte ich gerade noch) spielt das Radio wieder recht gut. Sobald alle "Problemkondensatoren" gewechselt sind, werde ich mir die Automatik genauer ansehen. Wie ich feststellen musste, war hier wohl mal ein Bastler am Werk. An der Automatik hängen zwei Kondensatoren mit je 0,22µF (ein Ende hängt frei herum). Beim Betätigen der Wippe geht der Ton langsam weg und kommt nach kurzer Zeit wieder, die Automatik läuft aber nicht.
Weiß jemand, welche Kondensatoren hier benötigt werden und wie man die einbauen muss?
Viele Grüße,
sabasammler
P.S. Ich werde versuchen, ein Bild einzustellen.



